Friday March 2026

হটলাইন

সেবা এবং ধাপ

নং শিরোনাম সেবার ধাপ কার্যকলাপ
  
উপজেলা পর্যায়ে উন্নত/নতুন কৃষি প্রযুক্তি/ফসলের জাত সম্প্রসারনের প্রসেস ম্যাপ দেখুন
উপজেলা পর্যায়ে কৃষি উপকরণ সহায়তা (ভর্তুকী) বিতরণের প্রসেস ম্যাপ দেখুন
উপজেলা পর্যায়ে কৃষি প্রযুক্তি সংক্রান্ত প্রশিক্ষণের প্রসেস ম্যাপ দেখুন
উপজেলা পর্যায়ে মাটির স্বাস্থ্য ব্যবস্থাপনা কার্যক্রমের প্রসেস ম্যাপ দেখুন
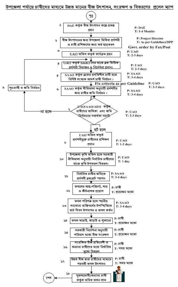
উপজেলা পর্যায়ে চাষীদের মাধ্যমে উন্নত মানের বীজ উৎপাদন, সংরক্ষণ ও বিতরনের প্রসেস ম্যাপ দেখুন
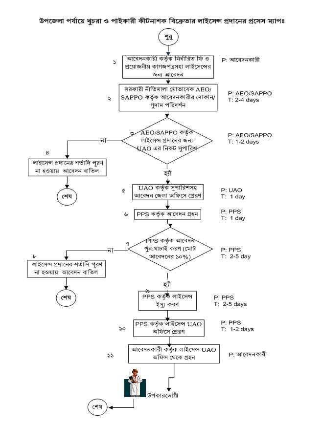
উপজেলা পর্যায়ে খুচরা ও পাইকারী কীটনাশক বিক্রেতার লাইসেন্স প্রদানের প্রসেস ম্যাপ দেখুন
উপজেলা পর্যায়ে সার ডিলার নিয়োগের প্রসেস ম্যাপ দেখুন
উপজেলা পর্যায়ে সমন্বিত ফসল ও বালাই ব্যবস্থাপনা কার্যক্রমের প্রসেস ম্যাপ দেখুন
দেখছেন ১ থেকে ৮ পর্যন্ত, মোট ৮ এন্ট্রি

এক্সেসিবিলিটি

স্ক্রিন রিডার ডাউনলোড করুন